Hi 欢迎来到转一转网!公司转让、收购平台
登录
注册
手机版
请选择省
北京
安徽
福建
甘肃
广东
广西
贵州
海南
河北
河南
黑龙江
湖北
湖南
吉林
江苏
江西
辽宁
内蒙古
宁夏
青海
山东
山西
陕西
上海
四川
天津
西藏
新疆
云南
浙江
重庆
香港
澳门
台湾
请选择市
请选择区
找公司
热门搜索:
工程
建筑
资质
转让
收购
公司
免费发布
卖
转让公司
买
收购公司
办
代办服务
转一转分类
建设工程公司
金融/投资公司
文化传媒公司
教育科技类公司
其他类型公司
更多转让公司
工程总承包公司
工程专业承包公司
劳务分包公司
勘察/设计公司
工程监理公司
工程造价公司
房地产开发公司
其他工程公司
更多
金融公司
基金公司
投资公司
保险公司
典当行
其他
更多
文化传媒
经纪公司
影视娱乐
更多
互联网公司
软件开发公司
电信/广播/卫星
科研公司
其他科技类公司
更多
其他类型公司
更多
首 页
转让公司
收购公司
代办服务
行业资讯
信用修复
您所在的位置:
转一转网
>
代办服务
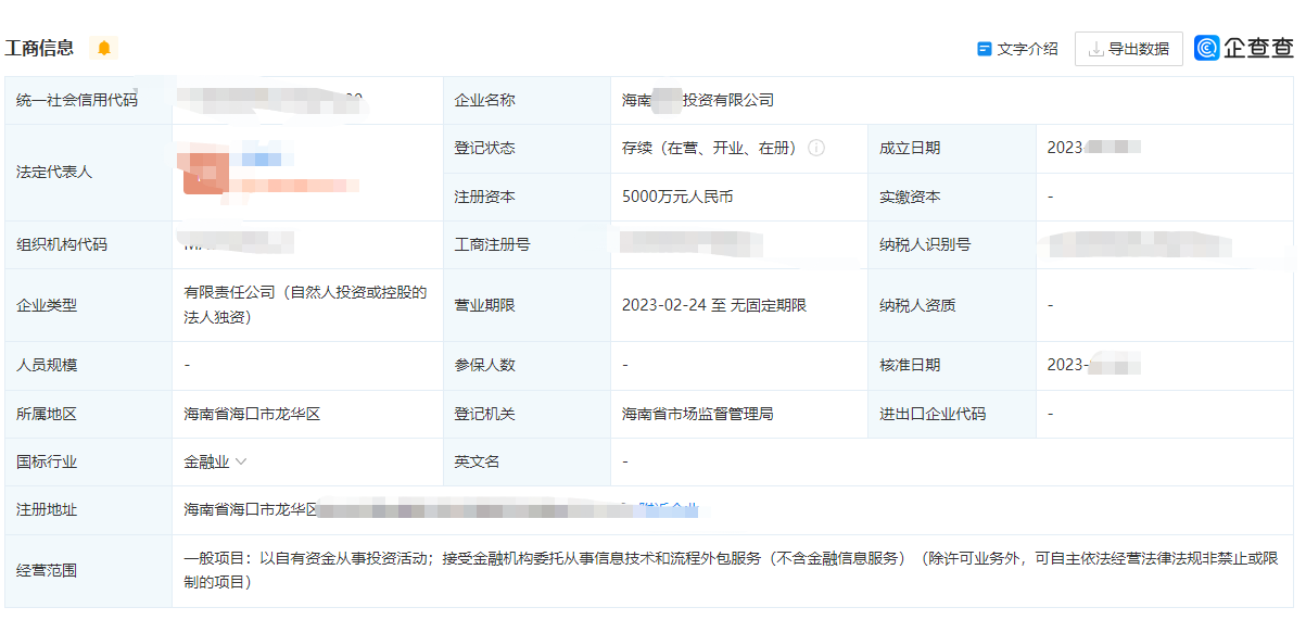
新注册海南投资公司
更新时间:2023-07-14
浏览量:
386
服务区域:
海南 海口
公司名称:
海南投资公司
代办项目:
股权变更
公司买卖
工商注册
资质代办
资质升级
代理记账
商标过户
专利过户
挂靠地址
执照加快
代领发票
发票增量
资金过桥
尽业调查
疑难核名
法律援助
工商疑难处理
税务疑难处理
代办注册海南投资公司,一站式注册,最快三天即可下证
发布人:黄先生
共发布
232
条信息
电话:13823538893
联系我时,请说是在
转一转网
上看到的,谢谢!
最新文章抢先看
1. 2025中秋国庆假期连休8天
2. 提前把资质安排好,迎来丰收的金九银十
3. 建筑资质公示期7个工作日,企业该怎么做陈述...
4. 关于公路类施工资质“一延五”有关工作的公...
5. 建设工程企业“三级换二级”换证后延续有关...
6. 【转一转网】三群,欢迎加入
7. 当“六一”遇上“端午”,快乐成长“粽”享...
8. 五一劳动节放假通知及安全温馨提示
9. 清明时节烟雨朦胧
10. 如何删除中国庭审公开网的负面信息